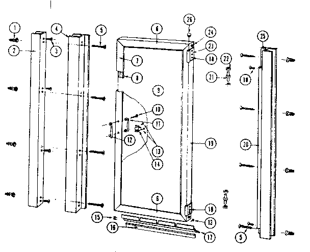
36 shower door parts diagram
Replacement Parts - Basco Shower Doors Thanks for purchasing a Basco part for your shower door. See our popular parts instructions below: Basco Shower Door Rollers 3/4 inch diameter replacements for sliding shower doors. LEARN MORE. Basco 1/4 inch shower door sweep 38 inches (1" x 38") (Infinity) Basco Shower Doors Parts Breakdowns - Northern Plumbing 126-00 SILVER OBSCURE CUSTOM SHOWER. Parts Breakdown. 135-AU-SN SATIN NICKEL/AUTUMN GLASS. Parts Breakdown. Specification Sheet. 135-CL *STEAM DOOR 40" OPENING. Parts Breakdown. Specification Sheet.
PDF Anzzi Glass Shower Door Install Guide parts, or has finishing defects, immediately contact customer service. Once all boxes and packages are inspected and opened, thoroughly read through this instruction manual. Take time to view the "Detailed Diagram of Shower Door Components" page and mark each piece as you ensure

Shower door parts diagram
Parts | MOEN Moen sells thousands of replacement parts and accessories for thousands of products. It can be confusing trying to identify the exact item you need, and we want to help by eliminating this confusion. The best way to figure out what replacement part or accessory you need is if you know the "Model Number" of your Moen product. Once you know this ... Replacement Parts For Pivot Shower Doors | Webmotor.org Shower Door Parts Diagram Data Medis K 27602 10l Composed Frameless Pivot Shower Door Kohler Canada ... for framed pivot shower doors nb12 shower door nylon bushing for framed pivot doors bry0923 mira flight ace pivot door shower spares and parts national. Whats people lookup in this blog: Parts For Pivot Shower Door | Webmotor.org Kohler Parts For Sterling 1500 Shower Door And Replacement Pivot Block With 3 4 Pin Kit Com. China Shower Door Hinge Parts Pivot Bathroom 135 Degree. Delta 27 In To 36 Semi Frameless Contemporary Pivot Shower Door Track Assembly Kit Chrome Sdlnp36 C R The. Shower Door Sweeps Bottom Seal Tub Parts.
Shower door parts diagram. Amazon.com: rv shower door parts 75 Inches Flexible Magnetic Strip Insert Shower Door Magnetic Strip Replacement Magnet Shower Door Replacement Parts Long Shower Door Strip for Framed Semi Framed Swinging Glass Shower Doors, Black. 2.8 out of 5 stars 6. $24.99 $ 24. 99. Get it as soon as Wed, Feb 16. RV Shower Doors - RecPro | RV Parts Plus, a door can add more space to the bathroom, which is always needed. No dealing with clunky, clingy curtains! As you can see, there's more than meets the eye when it comes to a simple shower door. Speaking of simple, that may be the best benefit of all: Our shower doors are incredibly easy to install. Shower Door Pivot Hinge Replacement Parts, Framed Pin ... Eliminate to the top pivot mechanism through screwdriver. Do again the process to delete to the attach shower glass panels. Fit the new top and lower shower pivot clamp into the wall jamb. Point to the shower pivot door into the frame and push it upper to the top pivot shower clamp. Connect to the seals to the bottom of the shower door. RV Showers and Tubs Accessories and Parts | etrailer.com Phoenix Faucets. Replaces the shower head for your Phoenix Faucets exterior RV shower box. More Information >. Replacement Quick Disconnect Shower Valve for Empire Faucets Exterior RV Showers - Black. Code: EM84FR. Retail: $35.85. Our Price: $31.45. In Stock. Accessories and Parts.
Parts | Sterling Plumbing Use the Product Wizard tool to find the part you need for your kitchen or bathroom, except for STERLING toilets and shower doors. If you have a STERLING toilet that needs parts, use our online brochure to order what you need. Our customer service team is available 8am-5pm Central time, Monday through Friday. Call 1-800-STERLING (1-800-783 ... PDF VISTA-PIVOT Shower Door - Sterling Plumbing Shower Door Series 1500D/1600D ... Exploded Diagram of the door on page 3 will also provide a helpful reference when relating the location of the various parts. basic tools and materials needed TOOLS MATERIALS 6 FOOT FOLDING RULE OR MEASURING TAPE HACKSAW WITH 32 TEETH PER INCH BLADE ... Shower Door & Tub Enclosure Parts & Hardware | All About ... Shower Doors & Tub Enclosures. Replacement shower door parts and tub enclosure hardware including sliding glass shower door sweeps, swing door catches, top hung rollers, sliding shower door handle pulls, door bottom seals, tub & shower guides, glass shower door hardware and more. MAAX Parts Online This problem can be caused by a variety of issues, including: Internet connectivity has been lost. The website is temporarily unavailable. The Domain Name Server (DNS) is not reachable. The Domain Name Server (DNS) does not have a listing for the website's domain. If this is an HTTPS (secure) address, click tools, click Internet Options, click ...
Shower Doors Parts - Showers - The Home Depot 48 to 60 in. Contemporary Sliding Shower Door Track Assembly Kit in Nickel Whether you're looking for a moderate DIY Whether you're looking for a moderate DIY project or working on a bathroom remodel, upgrading your bathroom with a new sliding shower door is easy with the Delta 1-2-3 custom sliding shower door program. Delta's custom glass shower door program offers 1000s of design ... Tub & Shower Door Guides | Shower & Tub Parts Bottom Guide, 9/16 Opening inch - Clear - Shower Door- Sterling Shower Door Bottom Guide Basco Parts Store - Basco Shower Doors AquaGlideXP Protection Kit. AquaGlideXP Home Kit offers a glass protection to your shower door that did not have the protective coating factory applied. AuqaGlideXP reduces maintenance by 60-70%. The revolutionary ultra-protective coating bonds to the glass and keeps it in pristine condition by repelling moisture, soap film and spotting. Shower Parts Names & Diagrams - Plumbing Lab Shower Parts Names: (Diagram & Explanation Of Plumbing Pieces) Instance 1. A nice long shower is the best way to unwind after a hectic day. The soothing sound of flowing water is therapeutic and an integral part of the de-stressing process. However, this experience can become frustrating if you do not choose the right shower.
PDF 5300EZ Service Shower Door Parts - Kohler Co. © 2013 Kohler Co. **Finish/color code must be specified when ordering. 1204891-8-A P. 1/15300EZ Service Shower Door Parts 1204280-01** 1204280-02** 1208525 (1/16 ...
Shower Door Frame Parts - The Home Depot Delta 48 in. to 60 in. Frameless Mod Soft-Close Sliding Shower Door Track Assembly Kit in Nickel for 3/8 in. Glass. Model# SDMS160-NIK-R. ( 19) $38900. Add to Cart.
Find Your Parts | KOHLER Aerie® Sliding shower door with return panel, 75" ... K- 706134-L . View Product Information. View Parts Diagram . ... K- 706145-L . View Product Information. View Parts Diagram . Aerie® Sliding shower door, 75" H x 57-1/16 - 59-7... K- 706147-L . View Product Information. View Parts Diagram . Arica® side panel with Crystal Clear glass, part ...
21 Parts of a Bathroom Shower (Excellent Diagram) - Home ... Slide Bar Bracket: Keeps the slide bar in position. Hand Shower: The type of shower that's connected by a flexible hose and secured into a wall-mounted bracket and allows a person to direct the flow of water where needed. Rain Shower: A showered that mimics the experience of bathing in the rain.
Shower And Door Replacement Parts |MAAX Bathware Canada Find the replacement part you need. If you are unable to find the part you need, or for all other replacement parts, send us a photo of the unit and the part. Contact Us. For general questions and support please call 1-877-438-6229 Monday - Friday 8am-5pm (EST) and we will do our best to assist you. Contact Us.
Shower Parts Explained - Full Diagram and Names - Homenish The two main components of showerheads include the arm and escutcheon. The arm is a tiny metal tube that starts in the pipes and stretches through the wall into the showerhead. This arm acts as a conduit for water to flow through. As the arm slides into the wall, escutcheons or flanges conceal the hole where the arm goes into the wall.
Spare Parts Guide by Mira Showers Mira Showers Spare Parts Guide. This extensive guide covers current Mira Shower products and showers we no longer manufacture. A full product diagram will enable you identify the exact spare part you need. Why not visit our spare parts page or give our customer service team a call to purchase direct from us. Download PDF. Share.
Shower Door Parts and Replacement Hardware Shower Door Hardware. At Reflect Window and Door you'll find a full line of bathroom shower door parts plus repair and replacement door hardware and accessories including shower door rollers, pull handles, knobs, hinges, brackets, sweeps, seals, adhesive tapes and track guides for hinged and folding bathroom shower doors plus mirror and glass ...
Replacement Parts for your shower and shower door If you can't find the part you need, and for all other issues and general questions regarding replacement parts please call 1-877-438-6229 Monday - Friday 8am-5pm (EST) for support. Contact Us.
Amazon.com: shower door replacement parts 75 Inches Flexible Magnetic Strip Insert Shower Door Magnetic Strip Replacement Magnet Shower Door Replacement Parts Long Shower Door Strip for Framed Semi Framed Swinging Glass Shower Doors (2 Roll) 3.0 out of 5 stars 10. $25.99 $ 25. 99. 5% coupon applied at checkout Save 5% with coupon.
American Standard Shower Parts | Fast Shipping ... Popular American Standard Shower Parts. Adapter. Part Number: M918021-0070A. In Stock, 20 available. This is a genuine OEM sourced replacement part designed for use with American Standard faucets. This is a single handle adapter which helps to secure the handle. It is made out of plastic and it is sold individually.
Parts For Pivot Shower Door | Webmotor.org Kohler Parts For Sterling 1500 Shower Door And Replacement Pivot Block With 3 4 Pin Kit Com. China Shower Door Hinge Parts Pivot Bathroom 135 Degree. Delta 27 In To 36 Semi Frameless Contemporary Pivot Shower Door Track Assembly Kit Chrome Sdlnp36 C R The. Shower Door Sweeps Bottom Seal Tub Parts.
Replacement Parts For Pivot Shower Doors | Webmotor.org Shower Door Parts Diagram Data Medis K 27602 10l Composed Frameless Pivot Shower Door Kohler Canada ... for framed pivot shower doors nb12 shower door nylon bushing for framed pivot doors bry0923 mira flight ace pivot door shower spares and parts national. Whats people lookup in this blog:
Parts | MOEN Moen sells thousands of replacement parts and accessories for thousands of products. It can be confusing trying to identify the exact item you need, and we want to help by eliminating this confusion. The best way to figure out what replacement part or accessory you need is if you know the "Model Number" of your Moen product. Once you know this ...
0 Response to "36 shower door parts diagram"
Post a Comment