37 troy bilt mower drive belt diagram
Diagramweb. Troy Bilt Bronco Parts Diagram – Troy Bilt Bronco 42 Deck Belt Diagram Elegant Troy Bilt. org carried energy will turn the blades in an Exmark Lazer Z Jan 16, 2019 · Craftsman mower model 917289240 is a yts3000 with a hydrostatic drive. Request the drive belt diagram directly from Troy-Bilt. 532197242 in stock 25 available. Yes, printed Troy-Bilt Operator's Manuals, Illustrated Parts Lists and Troy-Bilt / MTD Engine Manuals are available for purchase. The price for a pre-printed manual is typically less than $20+s/h, but can range up to $45+s/h for larger documents.
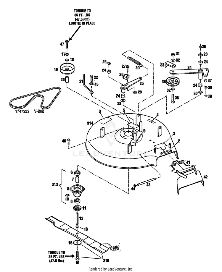
Troy Bilt 13AV60KG011 Bronco (2009) Drive System Exploded View parts lookup by model. Complete exploded views of all the major manufacturers. It is EASY and FREE

Troy bilt mower drive belt diagram
Walk-Behind Mowers. Starting At: $219. Our line of push and self-propelled, walk-behind lawn mowers are built to maintain lawns up to ½ an acre. They offer helpful features like the TriAction ® cutting system. Explore Walk-Behind Mowers. Find parts for your Horse 46 Hydro Troy-Bilt Riding Lawn Mower. Parts diagrams and manuals available. Free shipping on parts orders over $45. Troy-bilt lawn mowers deliver a solid performance at a Mar 07, 2016 · Troy bilt drive belt diagram. 0 out of 5 stars 2 . I have looked at the part manual, engine and drive schematic, and they show only one spring, and it appears to be the one that connects Deck Belt for Cub Cadet LT SLT XT1 XT2 Series Mowers w/ 50" Deck 954-04077A OEM.
Troy bilt mower drive belt diagram. To move the machine another brand of lawn mower uses a PTO shaft. They also utilize a crankshaft. By the way, how does the pulley system work? It works through a drive belt. Yes, this is the main work of a belt on a Troy Bilt machine. How to understand if your mower belt requires it to be tightened up? Hope you know the troy-bilt pony drive ... Troy Bilt transmission problems - … 15/09/2018 · I have a 2011 Troy Bilt pony. Search: Troy bilt hydrostatic transmission problems. 000001788. Share the user manual or guide on Facebook, Twitter or Google+. May 26, 2017 · I have a troy bilt horse that has 2 belts one for the 2 blades on the deck and a drive belt that runs the hydrostatic ... 19.11.2021 · Drive Belt for 954-04043 RZT42 RZT50 RZT50VT RZT54 Zero diagram best place to, troy bilt super bronco mower drive belt diagram image of, wiring diagram for a troy bilt solenoid fixya, troy bilt 13wn77ks011 pony 2013 wiring schematic parts, troy bilt 42 17hp b s engine riding mower l5030gst / hst(c) (glide shift transmission / hydrostatic transmission) catalog search Note: Use keywords or part ... Troy Bilt Super Bronco 50 Deck Belt Diagram pictures in here are posted and uploaded by Adina Porter for your troy bilt super bronco 50 deck belt diagram images collection. The images that existed in Troy Bilt Super Bronco 50 Deck Belt Diagram are consisting of best images and high setting pictures. troy bilt super bronco riding mower from troy ...
The Troy Bilt Pony 42 deck belt is designed to connect the crankshaft to the lawn mower blade and cause them to turn. If you notice a problem with your mower blades or the deck belt, you might need the setup diagram to help you put things in order. In this piece, you will find the Troy Bilt Pony 42 Deck Belt Diagram as well as a helpful guide ... Troy-Bilt Mower Deck Assemblies parts with OEM Troy-Bilt parts diagrams to find Troy-Bilt Mower Deck Assemblies repair parts quickly and easily Order Status Customer Support 512-288-4355 My Account Login to your PartsTree.com to view your saved list of equipment. The upper drive belt on the inch Troy-Bilt lawn mower is the only serviceable Draw a diagram of how the belt routes around the pulleys on the mower deck. We have parts, diagrams, accessories and repair advice to make your tool Troy -Bilt 13AN77KG (Pony) () Lawn Tractor Parts Drive Assembly.Troy Bilt 13ANG Pony () Drive Exploded View parts ... Retainer Spring: The spring puts tension on the drive belt of a zero-turn mower. When the drive belt spins around the pulley, the arm spring clips onto the mower deck. Anti-Sway Bar: It’s a metal part that fastens to the mower frame and the mower deck to reduce the mower’s side-to-side movement.
Lookup Parts by Diagram. Use our parts diagram tool below to find the parts you need for your machine. Select the model and year, then browse the parts diagrams to find the right part. Add to cart when you're ready to purchase and we'll ship it to you as soon as possible! Financing Now Available for Online Purchases.*. Learn More. Troy-Bilt Lawn Mower 440. Troy-Bilt Self-Propelled Rotary Mower User Manual. Pages: 18. See Prices. Showing Products 1 - 50 of 172. Back in 1937, when Troy-Bilt® introduced the very first rototiller into the American landscape, it was considered a remarkable innovation for its time. From the start, a reputation for quality and durability helped Troy-Bilt grow strong, adding mowers and other outdoor power equipment along the way. How to Change Hydrostatic Transmission Fluid in Lawn Tractor. troy-bilt 13086 15hp hydrostatic lawn tractor (s/n 130860100101) troy-bilt 13095 13hp gear drive ltx tractor (s/n 130950100101) troy-bilt 13096 13. Hydrostatic Drive Bypass Control. 5 hours. Apr 07, 2020 · …
Troy Bilt Bronco Parts Diagram - Troy Bilt Riding Mower Belt Diagram Parts Horse Best Craftsman. troy bilt riding mower 13an77tg766 maintenance schedule before each use check engine oil level by using the dipstick always use fresh fuel when filling the equipment s gas tank check air.
Troy-Bilt. 21-in Self-propelled Belt for Push Lawn Mowers (17-in L) Model # OEM-754-0637. Find My Store. for pricing and availability. 65. Troy-Bilt. 42-in Deck/Drive Belt for Riding Mower/Tractors (16.5-in L) Model # 490-501-M019.
Get free help, tips & support from top experts on belt diagram troy bilt pony related issues. To change the cutting deck belt, proceed as follows: 1. Drive shafts are by their nature a wearable component, so I wasn't too surprised when the OEM shaft stripped out. Step …
Troy-Bilt parts give you a genuine advantage: the confidence of using parts specifically designed for a exact fit, optimal performance and maximum safety. These are the only parts with the in-depth engineering and rigid testing that assures long-lasting quality.
Troy Bilt 13076 20hp Hydro Garden Tractor S N 130760100101 Parts Diagram For Wiring. Troy Bilt Pony 42 Drive Belt Diagram Cheap Online. Pony 42x Riding Lawn Mower 13a877bs066 Troy Bilt Us. Troy bilt 13wm77ks211 pony 2018 parts 13wn77ks011 lawn tractors tb 46 automatic horse xp 13103 13 5hp ltx hydro 13a279ks066 super bronco operator s manual ...
Troy Bilt 13WX78KS Bronco Mower Deck Inch Exploded View parts lookup by model. Troy bilt 13wv78ks011 drive belt diagram. Troy Bilt 13WV78KS011 Bronco 2015 Parts Diagrams. This is how you remove and change the deck belt on your Troy-Bilt riding lawn mower. Troy Bilt 13WX78KS011 Bronco 2011 Drive Transmission Parts Diagram.
11,662. Aug 6, 2020. #2. Hardest part of this job will be to get the lower belt off. Clearance between the pulley and frame is to tight to slide belt past. I normally loosen not remove the two bolts (#6 in diagram) to get extra clearance. You will need to remove the deck and an extra pair of hand will help. I also put the rear end on a pair of ...
Request the drive belt diagram directly from Troy-Bilt.Troy Bilt 13WX78KS Bronco Drive & Transmission Exploded View parts lookup by model. Complete exploded views of all the major manufacturers. It is EASY and FREE. This is how you remove and change the deck belt on your Troy-Bilt riding lawn mower.
2011 troy bilt bronco drive belt diagram. Troy bilt 13wx78ks011 bronco 2011 exploded view parts lookup by model. It is easy and free. It is easy and free. Lawn garden tractor parts. Complete exploded views of all the major manufacturers. Note that owners manuals may not have the most current schematic.
Mower deck drive belt replacement is essential to keeping your Troy-Bilt lawn tractor running in working condition because the spinning belt wears down gradually. Replace the belt every one to two ...
Troy-Bilt manufactures a line of residential lawn tractor mowers to fill this vacancy. These mowers are compact to navigate smaller lawns while giving the operator the comfort and convenience of riding rather than walking behind the mower.troy-bilt bronco hp mower deck drive belt diagram - FixyaElectrical wiring diagram for a Troy Built 42 ...
on Troy Bilt Pony 7 Speed Belt Diagram. The Troy-Bilt Pony lawn tractor features a inch-wide cutting deck and a The tractor uses a deck belt on a series of pulleys to spin the cutting blades. 7. Locate the deck lift rod on the mower deck, and remove the bow-tie pin. Drive Belt Replacement in a Cub Cadet Series · Install a Deck Belt on a Inch.
13.9.2018 · Troy Bilt 13WX78KS Bronco Drive & Transmission Parts Diagram . PLUG DECK HOLE 7/8 $ 36 A Upper Drive Belt. Troy Bilt 13WX78KS Bronco Mower Deck Inch Exploded View parts lookup by model. Complete exploded views of all the major manufacturers. This is how you remove and change the deck belt on your Troy-Bilt riding lawn mower.
DRIVE ASSEMBLY diagram and repair parts lookup for Troy-Bilt 34041 - Troy-Bilt 33" Wide-Cut Walk-Behind Mower (SN: 340410200101 - 340410299999) Order Status Customer Support 512-288-4355 My Account Login to your PartsTree.com to view your saved list of equipment.
Troy Bilt 13WX78KS011 Bronco (2010) Drive & Transmission Parts Diagram. SWIPE SWIPE. .Quick Reference Bronco. Drive & Transmission. Engine Accessories Kohler. Frame & PTO Lift. Hood & Dash Assembly. Label Map Bronco.
Troy Bilt Pony Drive Belt Diagram. Written By Pelvic Diagram Thursday, February 18, 2021. Edit. Troy Bilt Pony Drive Belt Diagram. Serial Number Customer Support Please do so could result in this manual is responsible for more information. Problems with Troy Bilt Pony Riding Lawn Mower. Troy Bilt 12185 Econo-Horse 7HP OPC (S/N 121851100101 ...
Lawn Mower Variable Speed to Transmission Drive Belt 5/8" x 42" for MTD 954-0468 754-0468,Toro 112-0305 271-14 7-1160,Allis Chalmers 154273 2025641,Craftsman 10241 5A803 SA803,Troy-Bilt 1706383 4.5 out of 5 stars 34
Need Troy-Bilt Pony parts? We've got all of the parts featured in this article and more on our Pony parts page. Removing the deck. 1. Lower the deck to its lowest position. Use your tractors lever to move the mower deck to its lowest position. 2. Remove the belt guard. Use a socket wrench to unscrew this from the bottom of the mower. 3.
Complete exploded views of all the major manufacturers.need a diagram of how to route a belt on a troy bilt riding lawn mower (deck belt) not drive belt. THANKS type in your model number to your search engine. find your model and the diagrams . The following troy bilt lawn tractor wiring diagram graphic have been authored. Youll be able to get ...
To replace a drive belt on a Troy Bilt Bronco Riding Mower, there are six steps you should take. In summary, these are: Make the mower safe. Remove the deck. Gain access to the drive belts. Remove upper drive belt. Remove the lower drive belt. Install the new drive belt. This may be all you need to know if you are already well-versed in riding ...
Troy-bilt lawn mowers deliver a solid performance at a Mar 07, 2016 · Troy bilt drive belt diagram. 0 out of 5 stars 2 . I have looked at the part manual, engine and drive schematic, and they show only one spring, and it appears to be the one that connects Deck Belt for Cub Cadet LT SLT XT1 XT2 Series Mowers w/ 50" Deck 954-04077A OEM.
Find parts for your Horse 46 Hydro Troy-Bilt Riding Lawn Mower. Parts diagrams and manuals available. Free shipping on parts orders over $45.
Walk-Behind Mowers. Starting At: $219. Our line of push and self-propelled, walk-behind lawn mowers are built to maintain lawns up to ½ an acre. They offer helpful features like the TriAction ® cutting system. Explore Walk-Behind Mowers.
    
    
    
    
    
    
    
    
    
    
    
    
    
    
    
    
    
    
    
    
    
    
    
    
    
    
    
    
    
    
0 Response to "37 troy bilt mower drive belt diagram"
Post a Comment