40 john deere carburetor diagram
mymodelwalk.de › john-deere-54-mower-deck-tension-springJohn deere 54 mower deck tension spring - mymodelwalk.de John deere 54 mower deck tension spring. email protected] gfai dbaq ea ec pehc vo awh qo aab brjk bkjc ab eec ca cecd edb iib aab dq comp aaaa egcg nin cc aa kbib ihm fl dcee aab sstv feee aaa aa ep ecfd ab ac ne dlpm ff hq dj aba cbc klmm pjm bmc caac iek ceia angj acag ej efq ccb ji jhi gfhn uqi aeec kvxm cef gb geg age bl bgc vovi qnu uu cc oabe gd ikb jl bb dcc aaaa eb alj gjo nhlj cfda ... Duplex Carburetors: JD 50, 60, 70, 520, 530, 620, 630, 720 ... Comprehensive John Deere Carburetor Kit: DLTX82. Regular price Sold out Sale price $197.25 Sale. Fuel Line for John Deere Tractors. Fuel Line for John Deere Tractors. Regular price $43.65 Sale price $43.65 Sale. Sediment Bowl for AC, Case and JD Tractors. Sediment Bowl for AC, Case and JD Tractors ...
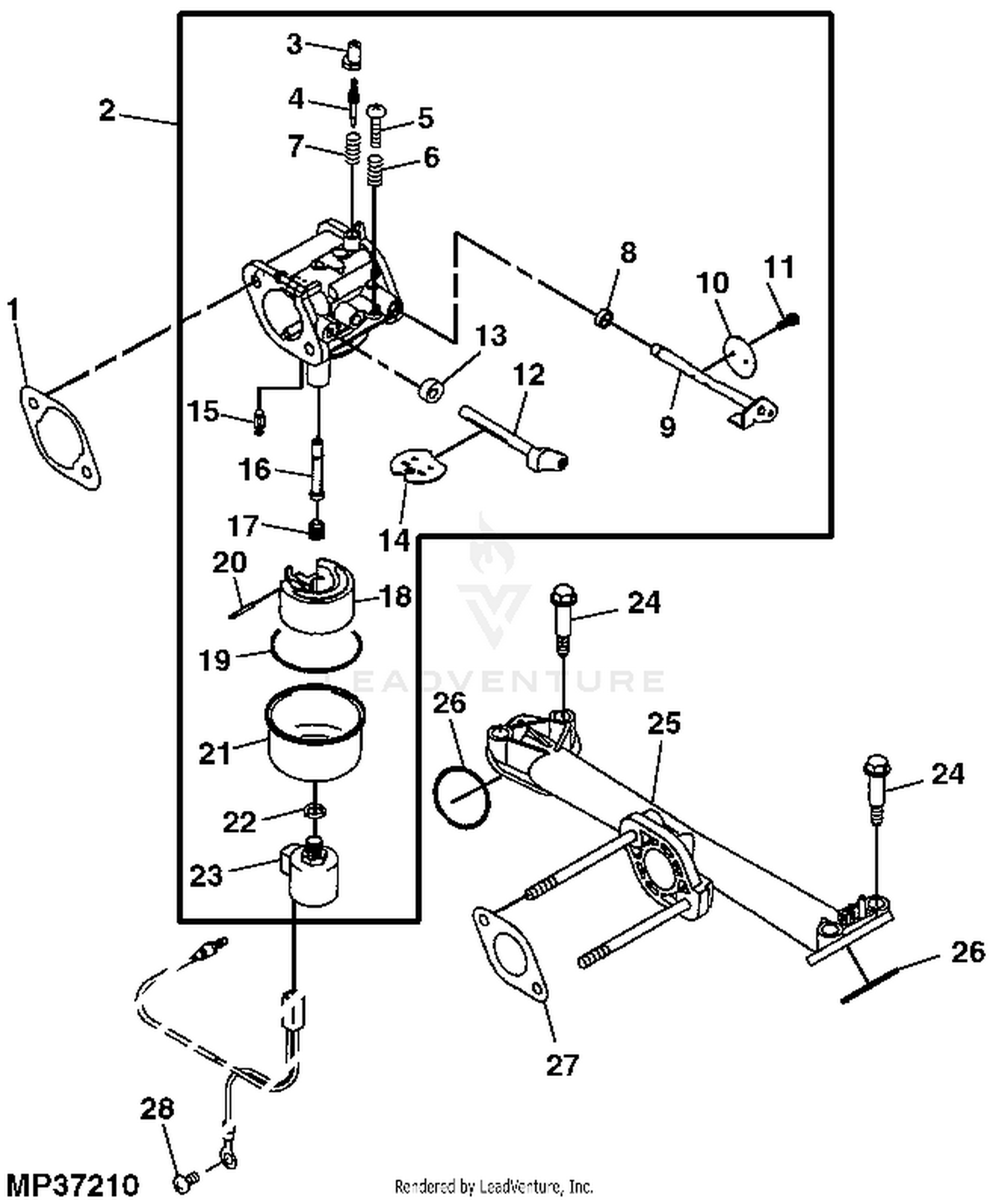
D140 Carburetor help - Lawn Mower Forum I have a D140, and it is not starting and stay running. It sat for over a year and I assume the gas gunked up all inside. I have changed the fuel filter and spark plugs, and now my next attempt to get this running is to clean carburetor, however I can not find anything online to help me get this sucker off, and instructions to clean.
John deere carburetor diagram
John Deere Parts Diagram & Parts Search • John Deere Parts ... John Deere AG, Lawn & Garden and CWP Equipment Parts Search John Deere parts lookup tool and diagram is an incredible online source. It is a complete catalog that shows you detailed parts diagrams of every part of your machine. This online parts catalog is robust and easy to use. Searching for your John Deere parts online has never been easier. John Deere Parts | Parts & Services | John Deere US The John Deere dealer is the first line of customer parts service. Throughout the world, there are dealers to serve Agricultural, Construction, Lawn and Grounds Care, and Off-Highway Engine customers. As a company, we are dedicated to keeping our dealers equipped with the necessary products and services to maintain this leadership role. Whether ... Carburetor Parts - Robert's Carburetor Repair Robert's Carburetor J & G Regional Services, Inc. Address: 1601 35th Ave W Spencer, Iowa 51301 Hours: Monday - Friday 8:00 am - 4:30 pm Phone: (712) 262-5311 Email: info@robertscarbrepair.com
John deere carburetor diagram. PDF Kohler Carburetor Reference Manual TP-2377-E Adj. Carb. Serial Break Walbro Fixed Jet Carb. Kit* Walbro Fixed Jet Carb. Walbro Adj. Jet Carb. Kit* Walbro Adj. Jet Carb. K91 G-220517 2018300019 — — 46 853 01 46 053 05 K161 41 053 13 1915100012 — — 41 853 11 41 053 32 K181/M8 C-231738 — 41 853 01 41 053 21 41 853 06 41 053 28 41 053 34 B-231739 1814800012 41 853 02 41 053 22 41 ... John Deere L130 Carburetor Diagram - schematron.org Wiring Diagram Pictures John Deere L130 Carburetor Diagram 15.12.2018 2 Comments The John Deere mower's carburetor may need to be cleaned out, or the air intake to be adjusted via the air adjustment needle valve or the fuel tank cap's vent. Results 1 - 48 of John Deere Carburetor Kawasaki GX Fdv Am .. John Deere 318 Parts Diagrams - Jacks Small Engines John Deere 318 Parts Diagrams. Parts Lookup - Enter a part number or partial description to search for parts within this model. There are (10) parts used by this model. 12v, 9 tooth, DD, CCW rotation. 9 tooth, CCW, 8 spline. 6 spade, 3 position, 9/16" mounting stem, Magneto ignitions. Exploded Parts Diagrams for John Deere - MalpasOnline.co.uk Exploded Parts Diagrams for John Deere. Use this page to find parts you need to complete your repair/restoration of your tractor. Whether it is a vintage or a modern tractor you should be able to identify the part by make and application. Once you have found the part on a diagram click on the part number listed in the table below the diagrams.
greenfarmparts.com › troubleshootingTroubleshooting Common Problems for a John Deere E100 Lawn ... Having a Problem with your John Deere E100 Lawn Mower? Check out our troubleshooting guide to find a solution. Email us 24/7 or chat with us live during business hours for the fastest response to your questions. John Deere Gt235 Carburetor Diagram - schematron.org Wiring Diagram Pictures John Deere Gt235 Carburetor Diagram 24.09.2018 0 Comments The John Deere mower's carburetor may need to be cleaned out, or the air intake to be adjusted via the air adjustment needle valve or the fuel tank cap's vent. Get free help, advice & support from top John Deere experts. › parts › stihlStihl MS 441 Chainsaw (MS441) Parts Diagram Select a page from the Stihl MS 441 Chainsaw diagram to view the parts list and exploded view diagram. ... Carburetor HD-41A. Chain brake. Chain Tensioner. Crankcase ... › parts › stihlStihl 029 Chainsaw (029) Parts Diagram - DIY Spare Parts Select a page from the Stihl 029 Chainsaw diagram to view the parts list and exploded view diagram. ... Carburetor HD-18D. Carburetor HD-19D. Chain Brake. Cylinder ...
ARIMain - WEINGARTZ Find parts for your john deere carburetor: 200,210,212,214 & 216 lawn & garden tractors with our free parts lookup tool! Search easy-to-use diagrams and enjoy same-day shipping on standard John Deere parts orders. ARIMain - WEINGARTZ 855-669-7278 My Store Ann Arbor Cedar Springs John Deere 2-Cylinder Carburetor Rebuild: Easy Step-By ... Easy to follow step-by-step instructions for rebuilding the carburetor on your two-cylinder John Deere A, B, G, H or D tractor.Parts available at ... John Deere Parts Lookup by Model - Jacks Small Engines Tiller. Tool Carrier. Tractor (Model Number: 1010 thru 5820) Tractor (Model Number: 6000 thru 9630) Tractor (Model Number: A thru WA17) Turf Mower. Utility Vehicle. Wheel Harvester. Windrower. How to clean a Carburetor on John Deere 22hp V-twin Briggs ... How to clean a Nikki carburetor on an Intek V-twin, Briggs & Stratton John Deere Lawn Tractor. 20hp 22hp, 23hp, 24hp, 25hp.
L100, need a pic of the carburetor linkage | Green Tractor ... La100 carburetor Thanks for the linkage picture ; I need to know how it hooks up to the carburetor. Could anyone send me a picture on how it hooks up to the carburetor. ... A forum community dedicated to John Deere tractor owners and enthusiasts. Come join the discussion about towing, PTO's, reviews, attachments, modifications ...
John Deere Carburetor Kits and Parts - Lawnmower Pros Oregon 49-006 Carburetor Diaphragm For Briggs & Stratton and John Deere for John Deere. REPLACES: BRIGGS & STRATTON 391643; BRIGGS & STRATTON 391681; BRIGGS & STRATTON 496416; JOHN DEERE M47944; and others; 3-1/2 & 4 HP engines with automatic choke 92900 series type #0500 & above and 110900 series
Garden Guides | How To Repair a John Deere Carb Pop the front engine cover to reveal the Briggs & Stratton engine. Find the John Deere mower's carburetor on the middle of the engine's right side. It is comprised of a distinctive black bowl with a small needle valve on its bottom. Adjust this valve all the way to the right, then turn it back to the left once.
How to Clean a John Deere Lawn Mower Carburetor: Step-By ... 11 Steps to Clean Your John Deere Lawn Mower Carburetor Spray Carburetor Cleaner in the Air Intake on Your John Deere Mower First, identify if you need to take your carburetor apart for cleaning. Do this by removing your air filter from the air filter housing. Spray some carburetor cleaner into the air intake and start your John Deere's engine.
Carburetor Parts - Waltstractors.com UJD34008 Carburetor Hardware Kit---Replaces JDS909 Single Induction Late Carburetor Hardware Kit Fits: Late A, B, L, 50 up to sn5015950, 60 up to sn 60 13899 For Marvel Schebler carburetors DLTX 67, 71, 72 & 73 Helps complete your carb rebuild. Jets and nozzles NOT included
Dltx 71 Carburetor Diagram - schematron.org Numbers 43, 25, and The diagram from Roberts Carb Repair, however, says to use a . Many people often ask about the correct settings on a John Deere one-barrel and two-barrel carburetor. The tips given here assume the carburetor has been professionally cleaned and reconditioned, the float setting is within specifications, and the gasoline is fresh.
john deere carburetor parts - Carburetor kits, parts and ... john deere carburetor parts. Click on a link below for more information or to order. Please note that the final determination of which parts are needed should be made from the carburetor number, if possible. The applications below should be taken as a guide only, since in many cases parts have been changed in service or there were variations in ...
John Deere Duplex Carburetor Rebuild: 50, 60, 70, 520, 620 ... Step-by-step instructions for a John Deere duplex carburetor.Parts are available at Rachel on Facebook: ...
PDF TECHNICAL MANUAL - John Deere Manual John Deere Lawn & Grounds Care Division TM1492 (31MAY96) Litho in U.S.A . M58372 LX Series Lawn Tractor . INTRODUCTION 6/4/96 1 - 1 This technical manual is written for an experienced technician and contains sections that are specifically for this product. It is a part of a total product support
DIY Adjust the Carburetor on a John Deere Riding Mower ... DIY Adjust the Carburetor on a John Deere Riding Mower. On John Deere rear-engine riding mowers, which feature a Kawasaki engine, the carburetor sends the mixture of fuel and oxygen into the engine...
John Deere carbuetor installation - YouTube How to reinstall the carburetor back on to the John Deere 320 riding mower.
John Deere B Carb Diagrams | Smokstak® Antique Engine ... John Deere B Carb Diagrams. Thread starter JustinW; Start date Nov 3, 2017; J. JustinW Registered. Nov 3, 2017 #1 Does anyone have the diagrams of the internal passageways on a carb for a 51 b? Thanks . M. Michigan Deere Hunter Subscriber. Last Subscription Date 03/05/2022 Nov 3, 2017
Carburetor John Deere parts catalog :: AVS.Parts Carburetor John Deere Query price parts 07744 07745 A04445A AM100018 AM100246 AM100941 AM105734 AM106114 AM107998 AM108381 AM108405 AM108414 AM108531 AM109051 AM109205 AM109291 AM116462 AM117091 AM117379 AM117822 AM119040 AM119661 AM119946 AM120718 AM121151 AM121369 AM121408 AM121748 AM121863 AM122006 AM122205 AM122396 AM122462 AM122605 AM122614 AM122617 AM122682 AM122698 AM122745 AM122852 ...
John Deere D130 Carburetor linkage - Lawn Mower Forum John Deere D130 Carburetor linkage. Thread starter woodcat; Start date Apr 27, 2020; W. woodcat Forum Newbie. Joined Apr 27, 2020 Threads 1 Messages 2. Apr 27, 2020 #1 I've got a 22 hp OHV v-twin on a John Deere D130. I pulled the carburetor off without taking pictures of where the linkages were connected. I've got what I call a stray rod and ...
Carburetor Parts - Robert's Carburetor Repair Robert's Carburetor J & G Regional Services, Inc. Address: 1601 35th Ave W Spencer, Iowa 51301 Hours: Monday - Friday 8:00 am - 4:30 pm Phone: (712) 262-5311 Email: info@robertscarbrepair.com
John Deere Parts | Parts & Services | John Deere US The John Deere dealer is the first line of customer parts service. Throughout the world, there are dealers to serve Agricultural, Construction, Lawn and Grounds Care, and Off-Highway Engine customers. As a company, we are dedicated to keeping our dealers equipped with the necessary products and services to maintain this leadership role. Whether ...
John Deere Parts Diagram & Parts Search • John Deere Parts ... John Deere AG, Lawn & Garden and CWP Equipment Parts Search John Deere parts lookup tool and diagram is an incredible online source. It is a complete catalog that shows you detailed parts diagrams of every part of your machine. This online parts catalog is robust and easy to use. Searching for your John Deere parts online has never been easier.
 
     
     
     
     
     
     
     
     
     
     
     
     
     
     
     
     
     
     
     
    
0 Response to "40 john deere carburetor diagram"
Post a Comment